|   | 
| 
 | |||||||
| Рыбацкие снасти и аксессуары все для рыбной ловли | 
|  | 
|  | LinkBack | Параметри теми | Параметри перегляду | 
|  13.01.2013, 12:10 | #1 (permalink) | 
| Активный участник Псевдо: Дима Звідки Ви: Киев Карапь: Резинка + 3 л\с, Длинномер+60 л\с 
					Дописи: 7.881
				 Сказал(а) спасибо: 5.785 
		
			
				Поблагодарили 8.885 раз(а) в 3.315 сообщениях
			
		
	 |  Сделай сам. 
			
			Блесна. Берется листовая нержавеющая сталь толщиной 1 миллиметр и отрезается полоска шириной 10—12 и длиной около 160 миллиметров. Зачистив напильником края, обрабатываем полоску наждачной бумагой и полируем войлоком. Сверлим симметричные отверстия на концах пластины под кольцо, а в центре - диаметром 0,8 миллиметра - под самодельный карабин. Полоску сгибаем, концы на расстоянии от края 8 - 10 миллиметров отгибаются плоскогубцами в стороны, как показано на рисунке. Далее из медной или нихромовой проволоки диаметром 0,8 миллиметра делаем карабинчик, который вставляется в центральное отверстие, где он должен вращаться. На гвозде выгибаем колечко, к которому будет крепиться тройник, а остатки проволоки отрезаются. На противоположный конец проволоки напаивается “бобышка”. На колечко надевается тройник с помощью заводного кольца и карабина. Устройство ее хорошо видно на рисунке. Размеры Вы можете менять по своему усмотрению. 
				__________________ ну шо когда революция? еще скоро или обождать? Востаннє редагував dimon: 13.01.2013 о 12:12. | 
|   |   | 
|  13.01.2013, 12:12 | #2 (permalink) | 
| Активный участник Псевдо: Дима Звідки Ви: Киев Карапь: Резинка + 3 л\с, Длинномер+60 л\с 
					Дописи: 7.881
				 Сказал(а) спасибо: 5.785 
		
			
				Поблагодарили 8.885 раз(а) в 3.315 сообщениях
			
		
	 |  Re: Сделай сам. 
			
			Зимняя живцовая удочка Зимняя живцовая удочка, изготовленная из пластмассы (полихлорвинила, поликарбоната), состоит из корпуса, внутри которого находится шток-сигнализатор, и пробки, соединенных пружиной. В нижней части корпуса и пробки имеются два сквозных отверстия, в которые вставляются стержневые упоры. На средней части корпуса при помощи упругих съемных колец закрепляется проводочная катушка. Ниже места установки катушки в корпусе и штоке-сигнализаторе имеется сквозное отверстие, через которое пропускается петля лески, удерживающая пружину в сжатом состоянии.Принцип работы удочки прост. В отверстия нижней части корпуса и пробки вставляют стержневые упоры и устанавливают удочку вертикально над лункой. Насадив живца, опускают его на нужную глубину и при помощи петли из лески фиксируют шток-сигнализатор. Удочка готова к работе. Усилие пружины, зафиксированной петлей лески, составляет 0,5—0,6 килограмма, поэтому при поклевке хищник не чувствует этого сопротивления. В момент поклевки леска, удерживающая пружину, вытягивается из отверстия, и пружина выталкивает шток из корпуса. Шток-сигнализатор имеет отличительную окраску. Двигаясь, хищник разматывает леску с катушки, установленной на тормозе. Рыболов не только видит поклевку, но и слышит «работу» тормоза катушки. Закончив ловлю, снимают катушку с колец и укладывают ее отдельно. Стержневые упоры вытаскивают из отверстий и закрепляют на корпусе при помощи колец, в которых крепилась катушка. Шток-сигнализатор фиксируют в корпусе любым подходящим предметом (например— спичкой), вставив его в сквозное отверстие. Размеры указаны на чертеже, но они могут быть другими — на усмотрение рыболова. Можно также изменить способ фиксации лески в отверстии: его располагают под углом, вместо петли из лески заводят штырек скользящего резинового фиксатора, надетого на леску. 
				__________________ ну шо когда революция? еще скоро или обождать? | 
|   |   | 
|  13.01.2013, 12:17 | #3 (permalink) | 
| Активный участник Псевдо: Дима Звідки Ви: Киев Карапь: Резинка + 3 л\с, Длинномер+60 л\с 
					Дописи: 7.881
				 Сказал(а) спасибо: 5.785 
		
			
				Поблагодарили 8.885 раз(а) в 3.315 сообщениях
			
		
	 |  Re: Сделай сам. 
			
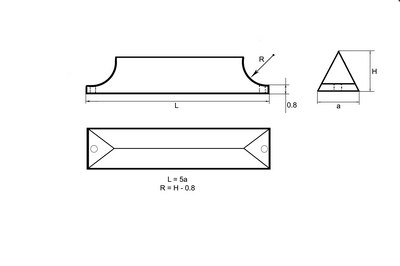
			Блесна "Трубочка" для судака и жереха Блесна - полый цилиндр, снаружи хромированный или никелированный. Материал - медь или латунь (отрезок трубки из металлолома). Длина блесны 50-70 мм, нагруженный диаметр - 8-10 мм. Она имеет два косых среза: один - там, где крепится заводное кольцо с вертлюжком и леской, под углом в 30°, другой - там, где на заводном же кольце закрепляется якорёк (тройник или двойник). Этот срез под углом 45°. Якорёк маскируется красными шерстинками. Есть в оснащении этой блесны ещё одна тонкость. Верхнее и нижнее отверстия диаметром 2 мм должны находиться на противоположных гранях. 
				__________________ ну шо когда революция? еще скоро или обождать? Востаннє редагував dimon: 13.01.2013 о 17:02. | 
|   |   | 
| Пользователь сказал cпасибо: |  
Шурави (13.01.2013)
 | 
|  13.01.2013, 12:19 | #4 (permalink) | 
| Активный участник Псевдо: Дима Звідки Ви: Киев Карапь: Резинка + 3 л\с, Длинномер+60 л\с 
					Дописи: 7.881
				 Сказал(а) спасибо: 5.785 
		
			
				Поблагодарили 8.885 раз(а) в 3.315 сообщениях
			
		
	 |  Re: Сделай сам. 
			
			Блесна - только для щуки Из листа нержавеющей стали, латуни или меди толщиной не менее 2 мм вырезаю заготовку 3 треугольной формы (см. рис.), скругляю углы; в широкой ее части ножовкой делаю два пропила 4, равных 1/3 общей длины блесны. К леске спиннинга привязываю блесну через заводное кольцо 1 и вертлюжок, просверлив в узкой части заготовки отверстие 2. Такое же отверстие сверлю в среднем лепестке 5 из трех, образованных прорезями; оно необходимо для заводного кольца 7, на которое надеваю тройник 8. Крайние лепестки 6 отгибаю в противоположные стороны.Чем замечательна блесна? При медленной проводке она ведет себя как тяжелая колеблющаяся, но стоит увеличить скорость вращения катушки, как она, подобно турбине, начинает вращаться, создавая вокруг себя такой бурун, что даже самая "сонная" щука набросится на нарушителя спокойствия. 
				__________________ ну шо когда революция? еще скоро или обождать? Востаннє редагував dimon: 13.01.2013 о 17:02. | 
|   |   | 
| Пользователь сказал cпасибо: |  
Шурави (13.01.2013)
 | 
|  13.01.2013, 12:23 | #5 (permalink) | 
| Активный участник Псевдо: Дима Звідки Ви: Киев Карапь: Резинка + 3 л\с, Длинномер+60 л\с 
					Дописи: 7.881
				 Сказал(а) спасибо: 5.785 
		
			
				Поблагодарили 8.885 раз(а) в 3.315 сообщениях
			
		
	 |  Re: Сделай сам. 
			
			Блесна "трехгранка" Тут и сказать нечего...главное соблюсти размерность...и весь жерех в садке....... 
				__________________ ну шо когда революция? еще скоро или обождать? | 
|   |   | 
|  13.01.2013, 12:26 | #6 (permalink) | 
| Активный участник Псевдо: Дима Звідки Ви: Киев Карапь: Резинка + 3 л\с, Длинномер+60 л\с 
					Дописи: 7.881
				 Сказал(а) спасибо: 5.785 
		
			
				Поблагодарили 8.885 раз(а) в 3.315 сообщениях
			
		
	 |  Re: Сделай сам. 
			
			Мечта щуки - деревянная приманка  Берется прямоугольный брусок древесины, просверливается два параллельных отверстия диаметром 1,5 мм для последующего соединения частей ниткой. От бруска отрезается хвостовая часть на длину 25 мм и обрабатывается ножом, затем напильником и доводится мелкой наждачкой. Таким же образом обрабатывается средняя часть и грудная. Голова раскалывается пополам для закрепления крючка. На разрезе делается небольшое углубление для заливки свинца для лучшего погружения на дно. И просверливаются два отверстия для соединения и закрепления двух половинок головы. Для лучшей гибкости торцы частей стачиваются под небольшой конус.В хвостовой части делается пропил для закрепления пластикового хвоста. Через отверстие протягивается нитка и натяжением регулируется расстояние между частями. Деревянная рыбка обклеивается блестящей бумагой. На бумаге черной и красной краской, смешанной с лаком, наносят чешую, плавники, глаза, жаберную крышку. Для различных трофейных щук можно изготовить разные рыбки (длинные, короткие, толстые). 
				__________________ ну шо когда революция? еще скоро или обождать? Востаннє редагував dimon: 13.01.2013 о 17:02. | 
|   |   | 
| Пользователь сказал cпасибо: |  
Шурави (13.01.2013)
 | 
|  13.01.2013, 12:45 | #7 (permalink) | 
| Активный участник Псевдо: Дима Звідки Ви: Киев Карапь: Резинка + 3 л\с, Длинномер+60 л\с 
					Дописи: 7.881
				 Сказал(а) спасибо: 5.785 
		
			
				Поблагодарили 8.885 раз(а) в 3.315 сообщениях
			
		
	 |  Re: Сделай сам. 
			
			Приманка вертолет Ловля хищника круглый год на приманку "Вертолет". Многие украинские любители подледной рыбалки ловят судака на приманку, которую назвали «вертолетом». Она представляет собой крупную каплевидную мормышку из свинца или припоя ПОС-30, к которой крепится кисточка из елочного «дождика» или козьей шерсти, как показано на рисунке. Размеры приманки, а следовательно, и ее вес зависят от условий ловли: чем больше глубина и сильнее течение, тем тяжелее она должна быть. Некоторые рыболовы оснащают удочку двумя приманками, однако я не советую следовать этому примеру: никаких преимуществ такая оснастка не дает, зато игра мормышек ухудшается.На удочку с запасом лески диаметром 0,30—0,35 миллиметра ставят кивок с широким отверстием на конце. Я делаю его из плоской часовой пружины шириной 2—3 миллиметра, припаивая к кончику заводное кольцо. Рабочая длина кивка — 4—5 сантиметров. Кивки из витой пружины или ниппельной резины непригодны, так как быстро обледеневают, тогда как с описанного кивка наледь легко удалить пальцами по мере ее нарастания. Приемы ловли на «вертолет» разнообразны. Иногда приманку ритмично подергивают, как судаковую блесну, затем ее игру меняют и начинают «мормышить». Судак хватает «вертолет» намного чаще, чем блесну. Отверстие для лески должно быть наклонено относительно продольной оси приманки на 60—70 градусов. В результате в воде она повисает под углом 40—45 градусов. Такое положение считается оптимальным. В заготовку впаиваю крючок № 8—10 с большой бородкой. Кисточку из козьей шерсти или четырех-шести полосок елочного «дождика» длиной 3—5 сантиметров приклеиваю водостойким клеем и обвязываю красной ниткой. Некоторые рыболовы делают двухцветные «вертолеты», однако существенных преимуществ, по-моему, это не дает. На «вертолет» со льда и по открытой воде, кроме судака, ловятся щука, изредка — язь, лещ, сом. «Вертолет»: а — вид сбоку; б — вид сверху; 1 — кисточка из козьей шерсти или елочного «дождика»; 2 — красная нитка; 3 — отверстие для лески; 4 — крупная мормышка. 
				__________________ ну шо когда революция? еще скоро или обождать? Востаннє редагував dimon: 13.01.2013 о 17:03. | 
|   |   | 
|  13.01.2013, 13:05 | #8 (permalink) | 
| Активный участник Псевдо: Дима Звідки Ви: Киев Карапь: Резинка + 3 л\с, Длинномер+60 л\с 
					Дописи: 7.881
				 Сказал(а) спасибо: 5.785 
		
			
				Поблагодарили 8.885 раз(а) в 3.315 сообщениях
			
		
	 |  Re: Сделай сам. 
			
			Окраска рыболовной лески дома  Для разных условий ловли, могут понадобиться лески различных цветов, однако чито же делать если денег либо времени на приобретение лески нужного нам цвета. Еще наши дедушки выполняли данную операцию - клали леску в ёмкость с заваркой. Рассмотрим несколько способов домашней покраски лески:1 способ. Я его называю пасхальный. все на пасху видели как наши бабушки окунают яйца в воду с луковыми шалупайками, и яйца в итоге становились красноватого оттенка. То же с леской, только единственное что варить не надо) Берём шелуху лука, закидываем в кипяток, даем повериться, затем раствор остужаем, кладём леску, затем пускай постоит ночьку, промываем и просушиваем, Всё леска окрашена в красно-коричневатую расцветку. 2 способ. Для копронки. Берём простую зелёнку и окунаем туда леску, чем дольше держать тем более насыщенный цвет, а так примерно пять секунд. После окраски леску промываем и сушим. 3 способ. Берём шариковую ручку нужного нам цвета, достаём стержень, отрезаем железную часть. Затем в ёмкость с горячей водой выдуваем чернила с ручки, остужаем и кладем нашу леску. Затем через сутки, просушиваем леску. Цвет окраски зависит от кол-ва чернила. 4 способ. Взять ёд, окунуть леску. чем дольше держим тем темнее окрас. 
				__________________ ну шо когда революция? еще скоро или обождать? Востаннє редагував dimon: 13.01.2013 о 17:03. | 
|   |   | 
| Пользователь сказал cпасибо: |  
Шурави (24.01.2013)
 | 
|  13.01.2013, 13:08 | #9 (permalink) | 
| Активный участник Псевдо: Дима Звідки Ви: Киев Карапь: Резинка + 3 л\с, Длинномер+60 л\с 
					Дописи: 7.881
				 Сказал(а) спасибо: 5.785 
		
			
				Поблагодарили 8.885 раз(а) в 3.315 сообщениях
			
		
	 |  Re: Сделай сам. 
			
			Перемёт. Всем рыбакам достоверно известно, что перемет – один из самых эффективных вариантов ловли пресноводной крупной рыбы, например, сомов. Приготовить перемет для рыбалки можно самостоятельно подручными средствами, используя для этого тонкую веревку и поводки с наживкой и самодельными рыболовными крючками. В этой статье будут описаны способы приготовления перемета для вылова крупных видов рыб в пресном водоеме или реке. • Для ловли крупной рыбы, длина перемета должна составлять 75 метров, а диаметр веревки около 34 мм. Поводки к перемету нужно вязать через каждые 1,5 метра, а общая длина поводка может быть от 1,5 до 2 метров. Это зависит от того, где именно находится перемет. • Гвозди для крючков нужно использовать длиной в 16-22 сам, такие, которые хорошо отковываются, сгибаются и закаляются. Вместо простой веревки для перемета, можно воспользоваться капроновым шнуром, который отличается высокой прочностью. Расстояние между поводками в речке может доходить до полутора метров. • Стоит установить перемет поперек речки, закрепляя его на небольшом расстоянии таким образом, чтобы насадка плавала около 40 см выше, чем поверхность дна. Так рыба может ее увидеть. Стоит выбирать для размещения перемета места со слабым течением, лягушками, мелкой рыбой и другими представителями животного мира. • Чтобы установить жерличный перемету, нужно заранее выварить веревку в просмолите или масле и установить ее таким образом, чтобы веревка плавала не натянуто и свободно. Закрепить такую веревку нужно на пробках, которые расположены на равном расстоянии друг от друга, и края веревки должны крепиться на противоположных берегах с использованием острых колышков. • Леска с наживкой и крючком должны быть привязаны к поплавку с грузиком, который держит в вертикальном положении поплавок. Конец лески с наживкой и крючком стоит опустить в воду. • Если вы собираетесь ловить речную форель, лучше в этом случае использовать перетяжку-перемет. Такой перемет нужно выставить поперек речки на всю ночь, а в качестве шнурка нужно взять леску с диаметром 1 мм. Длина поводков составляет 1,2 мм, а диаметр – 0,36 мм. • Крючки должны быть в верхнем слое воды. Использовать нужно не больше, чем 5 поводков, так как сам по себе перемет не является широким. На поводки стоит надеть прочные крюки, начиная с 7 размера. 
				__________________ ну шо когда революция? еще скоро или обождать? | 
|   |   | 
| Пользователь сказал cпасибо: |  
Шурави (24.01.2013)
 | 
|  13.01.2013, 13:10 | #10 (permalink) | 
| Активный участник Псевдо: Дима Звідки Ви: Киев Карапь: Резинка + 3 л\с, Длинномер+60 л\с 
					Дописи: 7.881
				 Сказал(а) спасибо: 5.785 
		
			
				Поблагодарили 8.885 раз(а) в 3.315 сообщениях
			
		
	 |  Re: Сделай сам. 
			
			Блесна на судака Опытные рыболовы рекомендуют выбирать качественные блесна, тогда ловля рыбы будет происходить результативно и приятно. Давайте изготовим блесну на судака своими руками, которые можно будет использовать на большой глубине и при сильном течении. Берем пластинку мельхиора или нержавеющую сталь толщиной около 1-1,3 миллиметра. Делаем заготовку исходя из шаблона, который мы предварительно вырезаем из плотной бумаги или картона. Выбиваем грань тупым кончиком зубила или оборотной стороной маленького молотка по линиям, которые показаны на рисунке пунктирной линией. Угол между нижними и верхними гранями, нужно довести до 145 градусов. Грани нужно направить на небольшой наковальне. Можно использовать подошву от старого утюга. Далее, обрабатываем их напильником, спиливаем «под ноль». После чего, делаем выкройку второй стороны, чтобы блесна на судака получилась цельной. Для этого, нужно поместить заготовку на плотную бумагу и обвести контур с помощью острого карандаша.По выкройкам делаем вторую деталь блесны из желтенькой пластинки из латуни (толщина от 0,2 до 1,6 миллиметра). Вместо латуни можно взять красную медь, так как судак лучше воспринимает красный цвет. Данную деталь необходимо обработать наждачной бумагой. Две детали с внутренней стороны облудить, а нижнюю заполнить свинцом. Крючки использовать №16 или №14.Впаиваем в нижнюю часть блесны с расчетом, чтобы жало было на одном уровне с нижним краем или не доходило до него на 1 или 2 миллиметра. Сложить две детали блесны и поместить между ними согнутую проволоку с помощью скобы так, чтобы между ними расстояние составило около 4 миллиметров. В этом виде зажать заготовку в тиски и постепенно заполнять разогретым припоем полость хвостовой детали блесны с одной и второй стороны. Перекусить скобу: ближний к хвосту отрезок проволоки, вынуть и продолжать заполнять припоем между детальками. Точно также заполнять вторую часть блесны, предварительно убрав другой отрезок проволоки. Готовая блесна обрабатывается надфилем, напильником и наждачной бумагой (мелкой), затем наматывается на надфиль или гвоздь. Грани отшлифовать на куске войлока специальной пастой. Блесна на судака готова. 
				__________________ ну шо когда революция? еще скоро или обождать? | 
|   |   | 
| Пользователь сказал cпасибо: |  
Шурави (24.01.2013)
 | 
|  13.01.2013, 13:11 | #11 (permalink) | 
| Активный участник Псевдо: Дима Звідки Ви: Киев Карапь: Резинка + 3 л\с, Длинномер+60 л\с 
					Дописи: 7.881
				 Сказал(а) спасибо: 5.785 
		
			
				Поблагодарили 8.885 раз(а) в 3.315 сообщениях
			
		
	 |  Re: Сделай сам. 
			
			Заточка крючка: как это сделать правильно? Век рыбацкого крючка не очень долог: в лучшем случае, он выдерживает несколько рыбалок, а потом, находит вечный покой на какой-нибудь очередной подводной коряге. Однако, изредка бывает так, что рыболовный крючок переживает несколько сезонов. Тем не менее, вся тяжесть ответственность за улов рыбы часто ложится на крючок. Частенько спортсмены шутят, что, если пришлось оказаться на двух сходах рыбы подряд, нужно запастись новым крючком. Цель любого рыбака в том, чтобы не только выбрать качественный и подходящий крючок, правильно определив условия рыбалки, но и поддерживать его в рабочем состоянии, а, в первую очередь, это его острота. Любителям ловли поплавком приходится чуть сложнее: ведь во время рыбалки крючки используются не очень больших размеров, а запросы к их остроте – просто огромные. Крючок обязан не только засекать рыбу, но и при насаживании небольших насадок, как скажем, мотыля, минимально травмировать их. Предлагаем вам следовать нескольким простым советам, которые помогут правильно выбрать, хранить и ухаживать за крючками. • После того, как вы купили пачку крючков, нужно определить их остроту. Для этого нужно жалом провести по ногтю: слишком острый крючок максимально прилипнет даже при небольших нагрузках, не очень острый скользит, оставляя при этом глубокую борозду, а тот, который требует заточки – вовсе не способен на это. Аналогичным образом, можно проверить остроту и на рыбалке. Хотя, если вы ловите на мотыля, тупой крючок начинает рвать насадку. Это повод для его правки или замены. • Заточка крючка и его качества находится в прямой зависимости от технологии, по которой он был произведен. Нужно отметить, что в этом больше всего преуспели компании Японии. Крючки таких брендов, как Gamakatsu, Suehiro, Owner, не нуждаются в повторной подточке. В редких случаях, когда есть наплыв краски на жало, можно вытереть лак на самом острие. Во всех остальных случаях, нарушать антикоррозионное покрытие, которое нанесли на заводе, по меньшей мере, не стоит. Европейские и корейские производители не на столько ревностно соблюдают все технологии, и сами крючки нужно иногда подтачивать.• Если необходима заточка крючка средних или мелких размеров, нужно применять такое приспособление – наклеенную на небольшой отрезок деревянную линейку (лучше мелкозернистую) на шлифовальную бумагу. Она самая долговечная и дает отличный результат, но лучше обратить внимание на ту бумагу, которая используется в зубопротезном деле. Но, к сожалению, ее трудно достать. • Уже готовые поводки с крючками можно хранить на поводочницах. Конструкций и типов много, но главное – они должны хорошо защищать леску и крючки от повреждений и быть удобны в эксплуатации. 
				__________________ ну шо когда революция? еще скоро или обождать? | 
|   |   | 
|  24.01.2013, 22:31 | #12 (permalink) | 
| Клубень Псевдо: Игорь Звідки Ви: Киев Карапь: Brig 
					Дописи: 3.876
				 Сказал(а) спасибо: 2.171 
		
			
				Поблагодарили 5.490 раз(а) в 992 сообщениях
			
		
	 |  Re: Сделай сам. 
				__________________ Ше ніколи не було шоб якось не було | 
|   |   | 
| 5 пользователя(ей) сказали cпасибо: |  
Alexdnepr (29.03.2013),
 
dimon (25.01.2013),
 
vlad2002 (25.01.2013),
 
Иванович 1962 (15.09.2014),
 
Шурави (24.01.2013)
 | 
|  25.01.2013, 10:19 | #13 (permalink) | |||||||||||||||||||||||
| Клубень, администратор Псевдо: Larik Звідки Ви: . Карапь: . 
					Дописи: 12.310
				 Сказал(а) спасибо: 4.909 
		
			
				Поблагодарили 8.180 раз(а) в 2.718 сообщениях
			
		
	 |  Re: Сделай сам. 
 Оооо, сколько я их в детстве переделал... | |||||||||||||||||||||||
|   |   | 
|  25.01.2013, 11:46 | #14 (permalink) | 
| Активный участник Псевдо: Дима Звідки Ви: Киев Карапь: Резинка + 3 л\с, Длинномер+60 л\с 
					Дописи: 7.881
				 Сказал(а) спасибо: 5.785 
		
			
				Поблагодарили 8.885 раз(а) в 3.315 сообщениях
			
		
	 |  Re: Сделай сам. 
			
			Чучело головы на память Порой, невозможно взять и съесть самую большую собственноручно пойманную щуку или карася, у которого чешуя величиной в пятак или даже небольшого окунька с прозрачным плавником. Хочется сохранить рыбью голову с раскрытой пастью или засушить распахнутый веером хвост, чтобы рассказать и показать друзьям. Голова рыбы - самый популярный трофей у рыбаков. Нажмите здесь для того чтобы увидеть полный текст 
                    Для изготовления его обычно применяют два самых известных способа: 1) отливка головы в гипсе, 2) высушивание.  Голову рыбы отрезают примерно в 3 мм сзади жаберных крышек, причем плоскость реза должна быть перпендикулярна к оси туловища. Затем от головы аккуратно отделяют грудные плавники, которые помещают между двумя полосками картона, прижатыми друг к другу канцелярскими скрепками. Подготовленные таким образом плавники сушатся. Голову тем временем тщательно очищают от слизи в растворе поваренной соли, промывают в воде, сушат и натирают тонким слоем вазелина. После этого приступают к получению самой отливки. Для этого требуется картонная коробка, старая ненужная кастрюля, нож, мелкозернистая наждачка, шкурка и ножовка. Жидко-образный гипс получают из тонко молотого порошка гипса, размешивают его в воде комнатной температуры (18-20°С). Вода берется в таком количестве, чтобы она составляла 40-45% по отношению к массе гипса. Гипсовую массу сразу после приготовления заливают в картонную коробку, примерно до половины. Затем в гипс наполовину погружают голову и спустя 10-15 минут, когда смесь затвердеет, покрывают поверхность гипса тонким слоем вазелина. После этого приготавливают новую порцию жидкого гипса и заливают им верхнюю часть головы. Как только гипсовая масса затвердеет, ножовкой отрезают часть формы, аккуратно разъединяют полуформы и осторожно вынимают голову рыбы. Затем ножом и наждачной шкуркой тщательно зачищают плоскость разъема, устраняя заусенцы и заливы, чтобы обе половинки плотно прилегали друг к другу. В ходе этой работы устраняют и возможные дефекты на поверхности отпечатка. После этого плоскости разъема и отпечатку покрывают тонким слоем вазелина и собирают форму, стягивая ее резинками. Заливают гипс в форму через проделанное отверстие. Залитый гипс хорошо просушивают на воздухе и извлекают отливку из формы. Поскольку обычно не совсем четко получаются жаберные отверстия, необходима их дополнительная отделка. Когда отливка готова, ее окрашивают масляными красками в естественные тона. Глаза рыбы имитируют бусинками, окрашенными в соответствующий цвет, и приклеивают к отливке щелочным клеем. После этого остается только покрыть трофей бесцветным нитролаком и вместе с плавниками закрепить его на подложке. Литье применяют для изготовления трофеев самых разнообразных рыб. Его основной недостаток - некоторая неестественность внешнего вида трофея. При этом способе голову рыбы отрезают от туловища точно за жаберными крышками и после удаления излишков мяса и жабр приклеивают гвоздиками или кнопками к деревянной дощечке так, чтобы жаберные крышки были раздвинуты в стороны. Затем в лицевой части головы делают два коротких надреза и помещают ее в нагретую духовку, где сушат до тех пор, пока остатки мяса не испекутся добела. После этого голову вынимают из духовки и удаляют из нее остатки мяса, в том числе и через надрезы в лицевой части. Возникшие пустоты протирают влажной тряпкой и заполняют жидким гипсом. Затем гипс и поврежденные места красят маслеными красками в естественные тона и покрывают лаком. Этот способ, как и предыдущий, рекомендуется отработать на мелких рыбах, прежде чем приступить к изготовлению трофея. Главное достоинство второго способа - его простота. Но он далеко не совершенен и применяется только для рыб с костистой головой, главным образом щук. Челюсти рыб тоже хороший трофей. Очень внушительно, например, выглядят челюсти крупной щуки. Голову отделяют от туловища, освобождают ее затылочную часть от излишков мяса и варят в кастрюле на слабом огне. После того, как она распадается, нижнюю челюсть очищают от остатков мелких тканей и помещают для отбеливания в десятипроцентный раствор перекиси водорода (продается в аптеках) на 3 часа. За это время из клееной фанеры толщиной 5 мм вырезают лобзиком дощечку нужного размера и просверливают в ней отверстие в 10 мм от верхней кромки. Затем дощечку красят в черный цвет, покрывают бесцветным нитролаком и прикрепляют к ней высушенные на солнце челюсти. Подложки для трофеев изготавливают из природных и искусственных материалов. Из искусственных материалов наибольшее распространение получило оргстекло. Правда, оно трудно обрабатывается режущим инструментом, но все же в нем можно сверлить отверстия, а пилой по металлу можно придать самую разнообразную форму. Для подложек используют и природные материалы, встречающиеся на месте лова. Наиболее хороша для этой цели древесина хвойных и лиственных пород с толщиной ствола 8-12 см, подложки используют с корой и без нее. Высушенный материал режут на дощечки и подвергают искусственному старению. Для этого дощечки опускают в жидкую протраву, после чего их равномерно обжигают пламенем паяльной лампы (лучше всего обжигаются древесина хвойных пород). Обоженную поверхность зачищают металлической щеткой до тех пор, пока она не получит блеск. Зачищенную поверхность натирают воском и полируют куском шерстяной ткани. Подложка готова. Вообще рыболов может использовать для подложки любой понравившийся ему материал. Однако надо иметь ввиду, что прежде, чем употреблять его, надо сначала познакомиться с его свойствами и особенностями. Прикрепить трофей к подложке довольно просто. Небольшие трофеи приклеивают или привязывают леской. Более крупные (головы) обычно закрепляют на подложке с помощью винтов. Для этого в середине плоскости отреза головы помещают деревянный брусочек с просверленными отверстиями. Чешую и плавники обычно хранят в пластмассовой коробке с прозрачной крышкой или в альбоме, в карманчиках из полиэтиленовой пленки. Трофей требует бережного отношения. Их следует оберегать от пыли и не трогать руками. Каждый трофей должен быть снабжен соответствующей памятной надписью (дата улова, название рыбы и водоема, вес и т.п.). Изготовление трофеев не такое уж сложное дело, как это может показаться на первый взгляд. Оно под силу любому рыболову, хотя и требует от него настойчивости и терпения. Изготовление трофеев - процесс творческий и главное здесь, как и в любом деле, конечный результат. 
				__________________ ну шо когда революция? еще скоро или обождать? | 
|   |   | 
| 2 пользователя(ей) сказали cпасибо: |  
hooker (25.01.2013),
 
P_Petrovich (25.01.2013)
 | 
|  25.01.2013, 11:55 | #15 (permalink) | 
| Активный участник Псевдо: Дима Звідки Ви: Киев Карапь: Резинка + 3 л\с, Длинномер+60 л\с 
					Дописи: 7.881
				 Сказал(а) спасибо: 5.785 
		
			
				Поблагодарили 8.885 раз(а) в 3.315 сообщениях
			
		
	 |  Re: Сделай сам. 
			
			Нужна ли карасю ложка? Раннее утро жаркого июльского дня. Сливается с бледнеющим краем неба и седыми прибрежными травами озеро. А где-то там, под неподвижной, дышащей туманом, водной гладью лениво шевелят плавниками отливающие серебром и бронзой огромные караси. Только вот на удочку их почему-то поймать никак не удаётся. Да это и неудивительно. Ведь карась, тем более крупный — рыба осторожная. Шума он не любит, к берегу подходит редко и предпочитает оставаться где-нибудь в глубинных зарослях, подальше от суеты и всевозможных рыбацких хитростей. Туда и крючок с приманкой не забросить (даже если речь идёт о «всемогущем» фидере). Увязнет оснастка в траве и тине так, что не то что леску оборвать — удилище сломать можно. Одним словом, путаются оснастки, обрываются поводки и кормушки, а желанного килограммового карася в улове так и не появляется. Но выудить матёрых представителей карасиного племени всё-таки можно. Рыболовная смекалка уже давно придумала для этого специальную снасть, о которой, вернее, об усовершенствованном её варианте и пойдёт речь в этой статье. Подавляющему большинству любителей карасиной рыбалки наверняка известна «соска» или «смоктуха». Её устройство и принцип действия крайне просты. Подальше от берега (в тину, заросли и вообще в любые зацепоопасные места) где, предположительно, должен кормиться карась, забрасывается объёмная кормушка, доверху забитая вязким тестообразным содержимым, выполняющим одновременно функцию прикормки и наживки {о том, что представляет собою это самое «содержимое», будет рассказано дальше). Привлечённый запахом карась подходит к кормушке и начинает высасывать из неё тесто, неизбежно засекаясь одним из спрятанных внутри крючков. Срабатывает сигнализатор поклёвки, и рыболову остаётся только осторожно вытащить рыбу на берег. Спортивной такую ловлю, конечно, не назовёшь. Но нужно понимать, что всякая снасть рассчитана на свою (часто достаточно узкую) область применения. В частности, «соску» следует использовать только тогда, когда условия на водоёме делают невозможным применение других способов ловли. В противном случае разумнее пользоваться более лёгкими и динамичными снастями. Несомненным плюсом «соски» есть то, что её - можно беспрепятственно совмещать с ловлей маховой, матчевой или болонской снастью, разнообразия таким образом улов несколькими «трофейными» экземплярами карася или карпа. А весьма существенный минус — неказистость и громоздкость оснастки. Так выглядят самодельная кормушка и её несколько более презентабельный, но менее функциональный покупной вариант (фото 1). Делается такая кормушка из обыкновенной столовой ложки с отпиленным черенком. В трёх-четырёх миллиметрах от края по её периметру просверливаются шесть отверстий. Верхнее (на сужающемся конце ложки) служит для крепления кормушки к леске. К нему пристёгивается застёжка либо напрямую привязывается леска. На остальных пяти отверстиях крепятся проволочные петельки для поводков. Края отверстий должны быть раззенкованы и тщательно зашлифованы. Проволоку в них следует пропускать так, чтобы она один-два раза пересекала поперёк вогнутую сторону ложки. Это нужно для того, чтобы прикормка лучше удерживалась в ней. Петельки должны находиться с внешней — выгнутой стороны. Если проволока тонкая, петельки лучше закрепить припоем. Если же она достаточно толста, то дополнительная фиксация излишня. Вот, собственно, и вся конструкция. Ложка должна быть достаточно тяжёлой, из нержавейки или мельхиора. Оловянная или алюминиевая для этого не годятся. Лучшие ложки — серебряные. Проволока — медная, мягкая офсетная, словом, любая, поддающаяся пайке. Среди прочих кормушек «ложку» выгодно отличает ряд преимуществ: Во-первых, она несравненно аэродинамичней «пружины» или кормушки другой формы. Следовательно, заброс получается точнее и дальше. Во-вторых, крепление поводков к проволочным петелькам удобнее привязывания их напрямую. Поводки хранятся отдельно и к кормушке крепятся непосредственно перед забросом, не путаясь во время хранения и транспортировки. Кроме того, поводок можно быстро сменить, если крючок затупился. Снимая или надевая дополнительные поводки, в процессе ловли можно варьировать количество крючков сообразно характеру клёва. Наконец, при извлечении даже пустой кормушки из воды поводки путаются не в пример меньше, чем на магазинных «пружинах». В-третьих, ложка всегда ложится на дно металлом вниз (для этого и нужно, чтобы она была достаточно тяжела), оставляя над илом только горку набитой в неё приманки. Поэтому, сколько бы поводков ни было привязано, все крючки будут наверху вместе с приманкой. А значит, шансы, что один из них попадёт в пасть рыбе, возрастают. В-четвёртых, при вываживании ложка «скользит» в толще воды, как колеблющаяся блесна, уменьшая нагрузку на снасть. Это, могущее показаться не столь важным, преимущество становится, в буквальном смысле слова, ощутимым, когда приходится извлекать из воды севшую на крючок крупную рыбину. Поклёвки которой в данном случае не редкость. В-пятых, такая кормушка практически ничего не стоит и легко изготавливается самостоятельно. В-шестых, форма ложки исключает даже и те редкие случаи зацепов, которые случаются иногда при применении кормушек другой формы. Теперь перейдём к описанию способа ловли на «соску», попутно останавливаясь на конструктивных особенностях других элементов оснастки. Для данного вида ловли подойдёт любое не слишком длинное удилище с пропускными кольцами. Разоряться на дорогой карбон смысла нет. Стеклопластиковый «телескоп» тут будет уместнее. Вес удилища, его длина, строй и материал покрытия пропускных колец решающего значения не имеют — частых забросов делать всё равно не придётся. Главное — прочность и компактность. Тест бланка должен позволять дальний заброс увесистой кормушки. Сам, например, спокойно обхожусь «монолитным» спиннингом 120 см длины. При цене в 3 доллара, он оказался очень удобным не только для зимней ловли щук (для чего и покупался), но и для донной ловли на «соску». Помимо дешевизны и компактности главным достоинством этого удилища служит предельно мощное крепление колец. Удилище оснащается силовой безынерционной катушкой либо инерционной (обязательно поворотной) с большим диаметром барабана. Шпуля катушки заполняется прочной леской. Плетёнка, конечно, предпочтительнее, так как гораздо лучше передаёт поклёвку на сигнализатор. Но и достаточно толстая (0,3-0,4 мм) монолеска вполне сгодится. Однако, злоупотреблять толщиной лески нельзя, так как от этого пострадает дальность заброса. Самое главное — не скупиться при покупке лески и крючков. Могу сказать из опыта, что дорогие, но качественные, они избавят рыболова от крайне досадных обрывов снасти и сходов уже показавшейся было из воды крупной добычи. К концу пропущенной сквозь кольца удилища лески вяжется вертлюжок с застёжкой. Он должен быть покрупнее (вернее, проволока, из которой он изготовлен, должна быть потолще) из-за приличного веса кормушки. На застёжке к леске крепится ложка, заполненная прикормкой. Заполнять кормушку нужно так, чтобы прикормка лежала в ней очень плотно и с горкой. Если же где-нибудь в прикормке окажется хоть малейшая щель или вмятина, туда немедленно проникнет вода и, вскорости, вымоет всё содержимое, особенно, если на водоёме присутствует хотя бы слабое течение. После того, как ложка заполнена прикормкой и прикреплена к леске, к проволочным петелькам крепятся поводки. Их длина не должна превышать десяти сантиметров. Изготавливать поводки следует из мягкой тонкой плетёнки (0,12-0,14 мм). Более жёсткая монолеска отпугивает осторожную рыбу и не так прочна. Мягкость поводка необходима для свободного движения крючка, с током втягиваемой рыбой воды влетающего ей в пасть. Размер крючка избирается такой, который позволял бы рыбе беспрепятственно заглатывать его как можно глубже. Но и не слишком мелкий, чтобы выдержать крупную рыбу. В идеале крючок должен быть отменно острым, с коротким цевьём (чтобы не слишком глубоко увязал в приманке) и обладать нейтральной плавучестью (для чего на шейку надевается пенопластовый шарик). Лучшие, в этом смысле, крючки фирмы OWNER серии ISEAMA-RV. Количество крючков может быть от одного до пяти. Наиболее удобно использовать три, что позволяет сохранить высокую вероятность засечки и одновременно избежать лишней путаницы в поводках. Крючок погружается в приманку цевьём и жалом вниз так, чтобы наверху оставался один только пенопластовый шарик. Поводок же, напротив, должен погружаться в приманку как можно меньше. Теперь снасть готова к использованию, и её можно забрасывать (фото 4). После заброса удилище устанавливается на берегу (чем короче удилище, тем более вертикальное положение должно занимать оно на подставке), выбирается слабина лески и приводится в рабочее положение сигнализатор поклёвки. Совершенно не обязательно, чтобы последний был электронным. Достаточно обычного колокольчика, с помощью прищепки закреплённого на леске. Ещё удобнее устанавливать колокольчик не на леске, а на примотанном к кончику удилища джиговом кивке. Изобретённый, если не ошибаюсь, братьями Щербаковыми, он легко изготавливается из стеклопластиквоой прищепки, отколотой от колена сломанной удочки. Этот тонкий и чувствительный кивок выдерживает забросы самых тяжёлых приманок и вываживание очень крупной добычи. При его использовании звуковой сигнализатор не нужен вовсе, так как все поклёвки отлично видны по сгибанию самого кивка. Но если, кроме «соски», рыболов использует и другую снасть, то колокольчик удобен тем, что позволяет сосредоточить внимание на поплавочной, скажем, ловле и не наблюдать неотрывно за кивком. (фото 5) Многие рыболовы избегают применять бубенчики, считая их малочувствительными и непригодными для регистрации слабых поклёвок. На самом деле, это одни из самых удобных звуковых сигнализаторов, так как конструкция прищепки позволяет устанавливать их как на леске, так и на удилище и мгновенно снимать при вываживании. Маленькая хитрость заключается в том, что купленный бубенчик нужно самостоятельно настраивать при помощи большего или меньшего растяжения его пружинок-усиков. Чем больше растяжение, тем чувствительнее бубенчик. При необходимости бубенчик можно настроить так, что он будет реагировать даже на малейшее движение ветерка. Теперь остановимся на том, какими качествами должна обладать закладываемая в кормушку приманка. К слову, название «соска» правильнее применять конкретно к кормушке, а «смоктуха» — к её содержимому. Прежде всего, её запах должен издали привлекать карася (карпа) и не настораживать его. Приманка должна быть достаточно тугой и вязкой, чтобы держаться в кормушке долгое время. Хорошей консистенцией считается такая, которая не вымывается из кормушки в течение восьми-десяти часов. Как уже было говорено выше, содержимое кормушки выполняет функцию прикормки и приманки. Осторожным карасю и карпу требуется много времени, чтобы подойти к кормушке. А если приманка из кормушки будет вымываться быстрее, чем рыба подойдёт к ней, поклёвки рыболов, само собой, не увидит. Привожу здесь рецепты пяти наиболее уловистых и простых в приготовлении приманок, эффективность которых неоднократно проверена на собственном опыте. Хлебно-картофельное тесто. Это, можно сказать, приманка быстрого приготовления, которую легко приготовить буквально перед самым выездом на рыбалку. Был бы только с вечера отварен картофель. Мякоть чёрного хлеба и несколько отваренных «в мундире» картофелин пропускают через мясорубку. Полученную массу хорошенько разминают руками для придания ей однородности. Напоследок в неё добавляют зубок тертого или давленого чеснока, ещё раз разминают и, завернув в целлофановый пакет, кладут на нижнюю полку холодильника. Приманка остаётся пригодной к использованию не более двух суток. Она великолепно привлекает карася (нужно только не переусердствовать с количеством чеснока). Зачастую, при её использовании удаётся выуживать по две рыбы на одной кормушке. Пшённая каша. Необходимое нам количество пшена заливаем водой так, чтобы оно было покрыто ею на 1,5-2 см, и варим на водяной бане до тех пор, пока пшено полностью не разварится. Степень готовности можно проверить, разминая крупинки пальцами. Если пшено легко раздавливается, значит, каша готова. Водяная баня необходима для того, чтобы пшено не подгорало. Запах пригорелой каши надолго отпугивает карповых рыб. Разваренное пшено растираем пестиком до состояния однородной массы, которой придаём необходимую густоту, подсыпая манную крупу. В полученную массу можно добавлять различные аттрактанты, но приятный пшённый запах и сам по себе достаточно привлекателен для карася. Овсяные хлопья. Обычные овсяные хлопья заливаем кипятком и накрываем крышкой. Главное — угадать пропорцию вода/овсянка. Правильно запаренные хлопья должны по консистенции напоминать хорошо размятую гончарную глину или пластилин. Каша, в которой «ложку не провернёшь», не годится, равно как и полужидкое творение дворецкого Берримора. Готовую овсянку лучше всего брать с собой прямо в кастрюле, чтобы не мять лишний раз разбухшие хлопья. Карась и карп очень любят отщипывать от общей массы отдельные хлопья, захватывая с ними и крючок. Уместно будет добавление в овсянку небольшого количества карасиной прикормки или какого-нибудь жидкого аттрактанта. Мастырка. Не самая простая а приготовлении, но замечательная по эффективности приманка. По сути, это заварное гороховое тесто. Лущёный пищевой горох (который продаётся в виде половинок, а не целых зёрен) в течение трёх-четырёх часов развариваем до состояния густого киселя, уменьшаем огонь до минимума и начинаем небольшими порциями добавлять к нему манную крупу, непрерывно помешивая. Когда густота горохово-манной смеси будет такой, что черенок ложки начнёт гнуться при её перемешивании, берём смесь в руки и начинаем разминать, в случае необходимости понемногу добавляя панирвочные сухари. Руки лучше смочить нерафинированным подсолнечным маслом. Чем дольше мы разминаем мастырку, тем плотнее и твёрже она становится. Эта приманка как раз тем и хороша, что позволяет с большой точностью контролировать степень её вязкости. Полезно бывает разделять общий объём приготовленной мастырки на несколько порций разной плотности. В мастырку можно добавлять семена конопли, корицу, укроп и прочие ароматизаторы. Чтобы сэкономить время, заваривать можно гороховую муку, для получения которой зёрна перемалываются на кофемолке. В этом случае на весь процесс уходит едва ли больше двадцати минут. После того, как мастырка остынет, заворачиваем её в целлофановый пакетик и кладём в холодильник. Сохранять свои свойства она может около недели. Мамалыга. Это похожее на мастырку заварное тесто, только не гороховое, а кукурузное. Приготовляется оно из кукурузной муки, смешанной с пшеничной. 2 части кукурузной муки смешиваем с 1/4 части пшеничной муки. Затем высыпаем их в доведённые до кипения 2 части воды, тщательно перемешиваем и тут же начинаем разминать смоченными растительным маслом руками. Добавлять какие-либо ароматизаторы в мамалыгу излишне, так как она и запахом, и цветом сама по себе великолепно привлекает рыбу, особенно карпа. Хранить готовую мамалыгу следует так же, как и мастырку. Напоследок скажу, что уловистость описанной снасти выражается больше в размерах пойманной рыбы, чем в её количестве. (фото 7) 
				__________________ ну шо когда революция? еще скоро или обождать? Востаннє редагував dimon: 25.01.2013 о 13:06. | 
|   |   | 
| Пользователь сказал cпасибо: |  
hooker (25.01.2013)
 | 
|  27.01.2013, 11:44 | #16 (permalink) | 
| Активный участник Псевдо: Дима Звідки Ви: Киев Карапь: Резинка + 3 л\с, Длинномер+60 л\с 
					Дописи: 7.881
				 Сказал(а) спасибо: 5.785 
		
			
				Поблагодарили 8.885 раз(а) в 3.315 сообщениях
			
		
	 |  Re: Сделай сам. 
			
			Квок на сома своими руками, конструкция квока. Существует несколько конструкций квоков (рис. 1). Рис. 1.Конструкции квоков: а) современная; б) устаревшие, применяемые в начале прошлого века В «работе» квока есть два важных момента: вхождение в воду и, главное, выход из нее, при котором возникает основной звуковой эффект. Материал, из которого сделан квок, и его вес роли не играют - простейшее звучание при желании можно получить, если стучать зажатым в руке граненым стаканом, майонезной банкой, донышком пивной бутылки, ребром ладони. Но это будет нерационально и потребует от рыболова большого напряжения. Для успешного квочения вам нужно добиться повторяющегося приглушенного звука и равномерности движений, от которых зависит его тональность. Последовательность операций при квочении следующая: сделав три-четыре удара, выдерживают паузу, а затем повторяют их вновь. Извлечение правильного звука зависит не от материала, а от конструкции квока и, в конечном счете, от навыка рыболова. Начинающие рыболовы часто увлекаются квоками различных форм, окончание которых выполнено в виде скошенного пятака, трубки, воронки, копытца. Но через некоторое время они понимают, что самое важное в квоке - это способность при минимуме физических затрат создавать звук нужной тональности. Рыболов выбирает для себя ту или иную конструкцию, процесс этот индивидуален. Плохо отполированным и неокрашенным деревянным квоком никогда не удастся извлечь звук, необходимый для успешной ловли сома. На что же все-таки похоже квочение? Если нет возможности послушать квочение опытного рыболова, тогда попробуйте тихим утром или вечером послушать квочение товарища, впервые плывущего на лодке с квоком. Дело в том, что обычно рыболов искаженно воспринимает звук собственного квочения. Вместо ясно различаемого на расстоянии двойного звука (удар воздуха, вторгающегося в «пустоту», и удар смыкающейся воды) получается некая нестройность звука. Шум брызг, их удары по воде поглощают мелодию квока. Сидя на берегу у самой воды, можно хорошо слышать звуки едущего с квоком в 50-100 м товарища и запомнить их, а также запомнить ошибки, им допущенные. Извлечь квоком верный звук можно только в спокойной воде. Поэтому следует квочить только тогда, когда успокоится поверхность воды у лодки. Звук, считающийся правильным, несколько напоминает издали не очень резкое бульканье с примесью звуков «кв» в начале. Неудачное квочение может отпугнуть сомов. Правильная техника достигается только длительной практикой. Техника квочения Сидя на корме лодки, рыболов погружает копытце или пятак квока в воду со скоростью удара, рассчитанного на то, чтобы прорвать натянутый лист газетной бумаги. Погрузив копытце на 5-8 см косым ударом спереди - назад, его извлекают из воды, сохраняя прежнее направление движения и скорость. Вначале у рыболова получается очень много брызг. «Музыкальную школу» можно считать успешно законченной, если при квочении уже не бывает брызг (рис. 2). Рис. 2.Техника квочения Жирующий сом может произвести в ограниченный промежуток времени не более двух ударов хвостом, поворачивая им попеременно в обе стороны, а заглатывание рыбы с поверхности или в верхних слоях воды происходит со значительными паузами, и не может наблюдаться постоянно. Следовательно, многократные удары квока могут отпугнуть сома, и он не подойдет к наживке, какой бы лакомой она ни была. Вот почему рекомендуется, извлекая квок из воды, считать небыстро «раз... два... три» и на счет «четыре» - ударить снова. Не нужно форсировать или замедлять четвертый счет, поскольку он - мера скорости удара квоком. Затем считайте: «пять... шесть... семь... восемь... девять» и на счет «десять» ударяйте опять. Некоторые рыболовы ограничиваются одиночными ударами через каждые 15-30 секунд. Итак, два-три удара, за которыми следует пауза от одной до полутора минут. Во всяком случае, лучше проехать по яме два-три раза, чем напугать осторожного хищника излишне усердным квочением. Сом начинает ловиться сразу после нереста, то есть в конце мая - начале июня. Клев усиливается в конце июня. Затем постепенно спадает к середине августа, а в сентябре замирает окончательно. Для ловли сомов следует дождаться периода, когда вода станет светлой. К тому же в это время весьма затруднено добывание лучшей насадки - ракушки перловицы. Не следует выезжать на охоту за сомами в холодные ветреные дни и в дождь, так как шум дождевых капель на реке заглушает звуки квока. Случается и так: моросит мелкий дождичек, похожий на водяную пыль, но рыбалка оказывается на удивление удачной. Отменный клев иногда бывает после дождя или хорошей грозы. По незнакомому омуту следует проехать засветло, промерить его, стараясь при этом не шуметь и не стучать. Подготовив квок и шнур с наживленным крючком, рыболовы выводят лодку на стрежень, выбирая самое глубокое место над ямами. Затем кладут весла и пускают лодку по течению. После этого насадка спускается в воду до дна, а потом поднимается над дном на высоту 30-40 см. Леску никогда не наматывают на руку, на ней не делают петель, а держат зажатой между пальцами одной руки. С катушки сматывают определенный запас лески и укладывают кольцами на свободное от всяких вещей дно лодки. Катушку кладут на удобное место, чтобы в темноте ее можно было легко найти. Ловля квоком активна: и рука, и мозг рыболова постоянно заняты работой. Лодка плывет по плесу с часто меняющимся рельефом дна, дно ям зачастую неровное и закоряженное, поэтому очень важно правильно вести насадку. Приманку, волочащуюся по дну и висящую высоко, сом не возьмет, поэтому не стоит тратить время и силы на проверку. Разумеется, только новичок, проверяя положение приманки, может стукнуть грузилом по дну. Если бы можно было во время ловли обеспечить стабильную вертикальность леске без грузила, то в нем не было бы никакой надобности, и оно служило бы только глубомером, так как крюк с насадкой имеет достаточный вес. Поднимая или опуская насадку, рыболов ведет ее на нужной высоте от дна, ожидая поклевку. В таком случае нужно сразу же спустить за борт запас лески и, тихо отгребая веслами, подняться выше по реке и осторожно поднять насадку. Нередко приходится пользоваться тяжелым отцепом. При всяком зацепе не нужно дергать леску, так как это ведет к заклиниванию или захлестыванию и к потере крюка и части лески. Необходимое условие успешной ловли - тишина. Присутствие рыболова на реке должно обнаруживаться только по звукам квока. Вблизи города, где количество плавсредств превышает предел допустимого, а рыболовный пресс действует на рыбу угнетающе, сомы на квок не реагируют. Бесполезна и ловля спиннингом с лодки. Поэтому рациональней ловить «усатых» с берега. Кораблик (водяной змей) Одна и та же снасть, применяемая для охоты за крупными осторожными рыбами, находящимися далеко от рыболова. Действует по принципу воздушного змея, только движителем здесь выступают как ветер (в тиховодье, на озере), так и речная струя. Рыболовы изготавливают снасть сами, что, кстати, не представляет большой сложности. На рис. 1 приведена конструкция одного из самых распространенных водяных змеев. (а - дощечка, б - колечки, в - шнурки, г - разъемная петля, д - свинцовый киль, е - центральное кольцо, ж - вертлюжок, з - буксирная леска, и - поводок с крючком, к - дробинка - стопор.) Сухую дощечку размером 300х180х10 мм обрабатывают олифой и затем покрывают масляной, желательно блеклого цвета, краской. Бока дощечки обычно срезают на конус и делают небольшие отверстия, в которые вставляют проволочные колечки и запаивают. От колечек к центральному кольцу идут шнурки (путцы) из прочной капроновой нити: два одинаковых (их привязывают наглухо), и один – задний - переменной длины. С его помощью регулируют скорость движения плавучего снаряда; при подсечке он разъединяется. Водяной змей превращается в плавающую на ребре дощечку, не препятствующую вываживанию рыбы. Разъемным шнурок делают с помощью прищепки, мягкой проволоки, специального зажима (Устройство разъемной петли. а - шнурок, б - разъем.) Дощечка держится в воде отвесно за счет свинцового груза, который должен утапливать ее примерно на 3/4 высоты. Диаметр буксирной лески зависит от места ловли: на озере, в заливе, где отсутствует течение,— 0,5-0,6 мм, на реке, тем более быстротечной, - 0,6-0,7 мм и толще. Поводок с крючком подвешивают к заднему колечку или непосредственно на буксирную леску. В этом случае их может быть 2-3. Некоторые рыболовы привязывают поводок и к заднему колечку, и к буксирной леске Крепление поводков на водяном змее (а - на буксирной леске, б - на буксирной леске и на водяном змее) Много крючков ставить не следует — это только осложнит ловлю, но отнюдь не увеличит количество трофеев. Поводок иногда привязывают к буксирной леске наглухо, но лучше сделать на ней петлю с вертлюжком, тогда его легче заменить, если того потребуют условия ловли, отстегнуть вместе с рыбой после удачного вываживания, да и закручиваться он не будет. При ловле водяным змеем можно обойтись без удилища, наматывая буксирную леску на специальное мотовило или фанерку, по лучше взять спиннинговое удилище с инерционной катушкой. На реке, озере, действуют так: дощечку опускают на воду, немного отходят против течения и, попеременно натягивая , ослабляя буксирную леску, дают струе (или ветру) вынести снасть на простор плеса. Крючки наживляют рыбешками по мере «отчаливания» от берега. Маневрируя буксирной леской, водяного змея направляют по тем участкам водоема, где могут держаться хищники. Темп движения зависит от угла между задним шнурком и дощечкой. Правило здесь такое: чем меньше скорость течения, тем большей величины должен быть угол.Водяным змеем ловят не только с берега, но и с лодки, плота. 
				__________________ ну шо когда революция? еще скоро или обождать? Востаннє редагував dimon: 27.01.2013 о 11:48. | 
|   |   | 
|  27.01.2013, 12:02 | #17 (permalink) | |||||||||||||||||||||||
| Правление, модератор Псевдо: Андрей Звідки Ви: г.Герой Киев Карапь: ой на многом..... 
					Дописи: 27.638
				 Сказал(а) спасибо: 20.626 
		
			
				Поблагодарили 16.088 раз(а) в 3.525 сообщениях
			
		
	 |  Re: Сделай сам. 
 Зря потраченное время!    Дня того, что бы изготавливать правильные квоки нужно хотя-бы 10-50 .... сомов поймать чужими квоками, что бы понять (услышать) какой должен быть правильный звук! 
				__________________  A ship in the harbour is safe, but that's not what ships are built for.... | |||||||||||||||||||||||
|   |   | 
|  27.01.2013, 12:08 | #18 (permalink) | 
| Активный участник Псевдо: Дима Звідки Ви: Киев Карапь: Резинка + 3 л\с, Длинномер+60 л\с 
					Дописи: 7.881
				 Сказал(а) спасибо: 5.785 
		
			
				Поблагодарили 8.885 раз(а) в 3.315 сообщениях
			
		
	 |  Re: Сделай сам. А вдруг у кого то есть свободное время для самодеятельности.......у многих руки чешутся. А тут и размеры и т.д......может кому и пригодится. 
				__________________ ну шо когда революция? еще скоро или обождать? | 
|   |   | 
|  27.01.2013, 12:48 | #19 (permalink) | 
| Активный участник Псевдо: Дима Звідки Ви: Киев Карапь: Резинка + 3 л\с, Длинномер+60 л\с 
					Дописи: 7.881
				 Сказал(а) спасибо: 5.785 
		
			
				Поблагодарили 8.885 раз(а) в 3.315 сообщениях
			
		
	 |  Re: Сделай сам. 
			
			Я вообще то   выставляю САМОДЕЛКИ!!!!! в этой Теме    
				__________________ ну шо когда революция? еще скоро или обождать? | 
|   |   | 
|  27.01.2013, 12:51 | #20 (permalink) | |||||||||||||||||||||||
| Правление, модератор Псевдо: Андрей Звідки Ви: г.Герой Киев Карапь: ой на многом..... 
					Дописи: 27.638
				 Сказал(а) спасибо: 20.626 
		
			
				Поблагодарили 16.088 раз(а) в 3.525 сообщениях
			
		
	 |  Re: Сделай сам. 
 Свои???    Или ты думаешь, что народ не умеет пользоваться поисковиком    .... 
				__________________  A ship in the harbour is safe, but that's not what ships are built for.... | |||||||||||||||||||||||
|   |   | 
|   | 
| Тут присутні: 1 (учасників - 0 , гостей - 1) | |
| 
 |  |