Перегляд одного допису
Старий 17.03.2011, 16:30   #13 (permalink)
саныч
Активный участник
 
Аватар для саныч
 
Псевдо: Петр
Звідки Ви: Кременчуг
Карапь: Прогресс+Н23
Дописи: 440
Сказал(а) спасибо: 205
Поблагодарили 143 раз(а) в 75 сообщениях
Типово Re: стартер на вихрь25

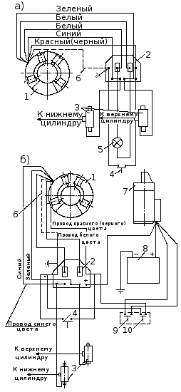
Хотел добавить -поскольку на моторе стоит эл.стартер то подключать нужно согласно схемы в инструкции к мотору.При этом провод(-) подключать не надо т.к. клемма (-) блока ВБГ соединена с корпусом мотора (может поэтому ее не обозначают в схеме к мотору) также как и стартер и провод(-) от аккум. к стартеру.Провод (+) от блока ВБГ подсоединяется к проводу (+) от аккум. к стартеру согласно схемы.
Мініатюри долучень
Щоб збільшити малюнок, клацніть по ньому
Назва:  МБ-2 схема.gif
Переглядів: 1617
Розмір:  11,0 КБ
ID:	7881  

Востаннє редагував саныч: 17.03.2011 о 16:51.
саныч зараз поза форумом   Відповісти з цитуванням
Пользователь сказал cпасибо:
Вовчик (17.03.2011)